润滑设备 手动润滑油加注泵STB-700


NEW!!

颜色全新改版!手动润滑油泵『STB-700』

长期以来备受客户喜爱的手动润滑油泵「STB-70」的颜色焕然一新!

此外,随附的台车也进行了更新!手柄部分加长,大幅提升了操作性。

『STB-700』是一种手动式油泵,可为齿轮油、电机油、机械油等各种油类加油。由于不需要动力源,非常适合在无压缩机的户外等环境进行加油作业。

还可选配流量计。


规格

产品详情表格:

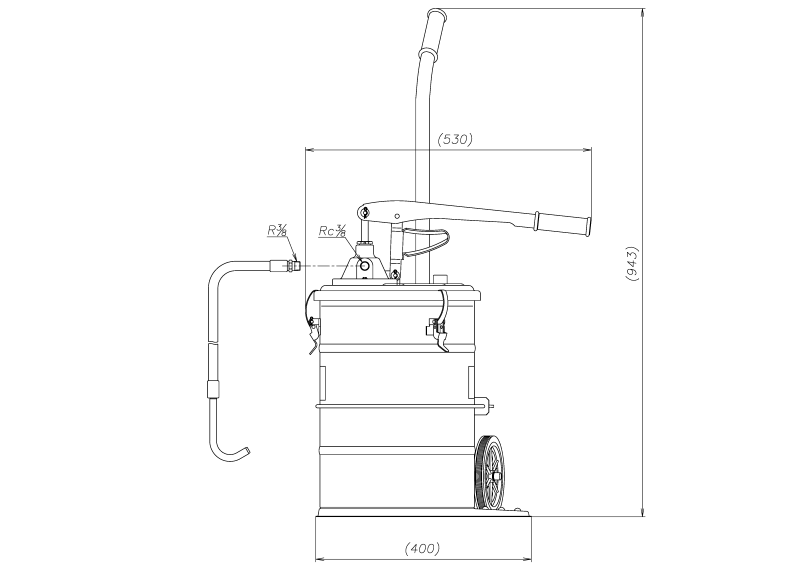
产品编号型号高(mm)容量(L)净重(kg)配  件
881244STB-700943209.5695453 STB-2MB软管喷嘴组件(黒・2m)
855470 S-200台车

●泵规格

吐出量*
(mL/行程长度)
行程长度
(mm)
4050

※数值为160号机油,油温20℃时的参考值。

尺寸图

使用方式

可选配件(流量计)

产品编号805339
型号OM-30MN
仪表类型机械
仪表机构椭圆齿轮
最大使用圧力 (MPa)7
圧力損失 (kPa)70
适用材料粘度SAE140油、柴油、
煤油和发动机冷却剂
不适用材料水基流体、汽油等
可能侵入密封件等部件流体
流量范围 (L/min)1〜30
流体的最大粘度SAE140/1000CP
精度 (%)± 3.0
重复精度 (%)3.0
使用温度范围 (℃)-10 ~ 60
BATCH TOTAL的最大值 (L)999.9
TOTAL的最大値 (L)999999
液晶的小数点表示
防水性能
蓄电池