
NEW! 2025.10.1
颜色焕新!用于润滑脂输送的桶装泵『SK-700』
长期以来受到大家喜爱的润滑脂桶装泵『SK-77』本体颜色焕然一新!
此外,附带的台车也进行了升级!加长了手柄部分,大幅提升了操作性。
『SK-700』是一款用于加注NLGI No.0润滑脂的手动泵。
标配容量16L的专用桶和随动压盘,可让油脂使用至最后而不浪费。
也可以在不使用自带专用桶的情况下,直接安装在市售油脂桶(16Kg)上使用。
(※我们也提供不含专用机柜的型号。)
规格
注意事项和要求:
・在太硬的油脂上使用时会产生气泡,无法使用。请使用0号及以下油脂。
・如标配的软管较短,可选配长软管使用。
・如自带SK油枪的喷嘴不适合工作,有各种喷嘴和软管可选配。
产品详情表格:
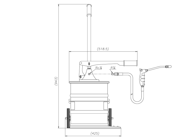
| 产品编号 | 型号 | 高度(mm) | 容量(L) | 净重(kg) | 配 件 |
| 881245 | SK-700 | 943 | 16 | 10.1 | 800601 SK-G 润滑脂加注枪 695046 高压耐油软管(2m) 801426 随动压盘 855470 S-200 台车 |
●泵规格(SK-700)
| 泵最大吐出压力(MPa) | 吐出量*(g/行程) | 行程长度(mm) |
| 25 | 3.2 | 38~43 |
※数据为使用 NLGI No.0 润滑脂且油温为 20°C 时的参考值。
※如标准软管较短,可选配长软管 (3m、5m)。
尺寸图

使用方式

市面上贩卖的油桶装填方式:

